İstanbul
Kapalı
6°
Adana
Adıyaman
Afyonkarahisar
Ağrı
Amasya
Ankara
Antalya
Artvin
Aydın
Balıkesir
Bilecik
Bingöl
Bitlis
Bolu
Burdur
Bursa
Çanakkale
Çankırı
Çorum
Denizli
Diyarbakır
Edirne
Elazığ
Erzincan
Erzurum
Eskişehir
Gaziantep
Giresun
Gümüşhane
Hakkari
Hatay
Isparta
Mersin
İstanbul
İzmir
Kars
Kastamonu
Kayseri
Kırklareli
Kırşehir
Kocaeli
Konya
Kütahya
Malatya
Manisa
Kahramanmaraş
Mardin
Muğla
Muş
Nevşehir
Niğde
Ordu
Rize
Sakarya
Samsun
Siirt
Sinop
Sivas
Tekirdağ
Tokat
Trabzon
Tunceli
Şanlıurfa
Uşak
Van
Yozgat
Zonguldak
Aksaray
Bayburt
Karaman
Kırıkkale
Batman
Şırnak
Bartın
Ardahan
Iğdır
Yalova
Karabük
Kilis
Osmaniye
Düzce
Yeni Birlik Gazetesi Galeriler Otomobil Tesla otomobil üretiminde sessiz bir devrim yapıyor!

Tesla otomobil üretiminde sessiz bir devrim yapıyor!

Tesla, elektrikli araç üretim sürecini değiştirebilecek ve Elon Musk'un üretim maliyetlerini yarıya indirme hedefine ulaşmasına yardımcı olabilecek teknolojik bir atılım yapıyor.

Tesla otomobil üretiminde sessiz bir devrim yapıyor! 1

Beyza Pınar - Tesla'ya yakın kaynaklara göre bu elektrikli otomobil üreticisi bir devrim yaşıyor. Tesla'nın bir dizi yeniliği bir araya getirerek elektrikli araçların üretim şeklini tamamen değiştirebilecek ve Elon Musk'un üretim maliyetlerini yarı yarıya azaltma hedefine ulaşmasına yardımcı olabilecek bir teknolojik atılım gerçekleştirdiği iddia ediliyor.

1 / 4
Tesla otomobil üretiminde sessiz bir devrim yapıyor! 2

Yeni üretim şekli daha ucuz Tesla’lar için

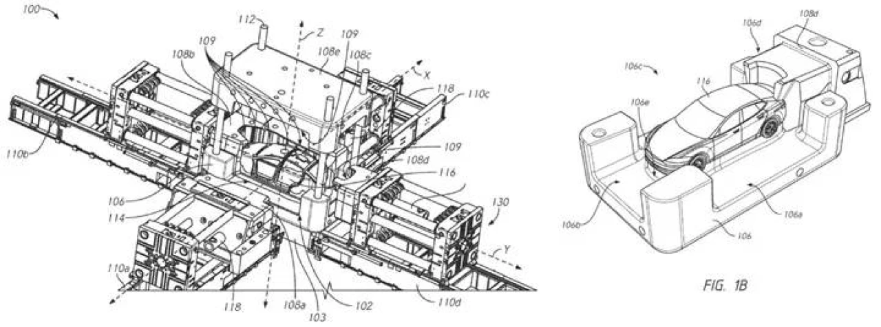
Şirket, Üretim maliyetlerini azaltan bir "Gigapress" işleminde Model Y'nin ön ve arka yapılarını kalıplamak için 6.000 ila 9.000 ton sıkma basıncına sahip büyük preslerin kullanılmasına öncülük etti.Yetkililer artık Tesla'nın, bir elektrikli aracın karmaşık alt takımının neredeyse tamamını, normal bir aracın yaklaşık 400 parçası yerine tek bir parça halinde şekillendirmesine olanak tanıyacak bir yeniliğe yaklaştığını söylüyor.

Kaynaklar, bu teknik bilginin Tesla'nın CEO Musk tarafından Mart ayında açıklanan endüstriyel stratejisinin ve önümüzdeki on yıl içinde hala kar elde ederken milyonlarca daha ucuz elektrikli araç üretme planının temelini oluşturduğunu söylüyor. Tesla, yeni üretim modeliyle otomobilin alt kısmını eş zamanlı olarak tek parça olarak üretip daha sonra bunları birbirine bağlamayı hedefliyor.

2 / 4
Tesla otomobil üretiminde sessiz bir devrim yapıyor! 3

Devrim için ilk adımlar atılmaya başlandı

Reuters kaynaklarına göre Tesla, daha önce yayınlanmamış yeni tasarım ve üretim tekniklerini kullanarak 18 ila 24 ay arasında sıfırdan bir araba geliştirme kapasitesine sahip. Bu gecikme rakipler için 3 ila 4 yılı bulabiliyor. Ancak raporda Tesla'nın yeni teknolojiyi yeni nesil aracında kullanıp kullanmayacağına henüz karar vermediği ancak bu ay bir karar verebileceği belirtiliyor. Reuters, yeniliklerden birinin döküm kalıpları oluşturmak için 3 boyutlu baskı ve endüstriyel kum kullanılması olduğunu, bunun da kalıpta kaçınılmaz değişiklikler yapmak için gereken maliyet ve zamanı azaltabileceğini söyledi.

3 / 4
Tesla otomobil üretiminde sessiz bir devrim yapıyor! 4

Bir başka yenilik ise malzeme bilimi ile sağlanıyor. Raporda Tesla'nın hem kalıbın 3 boyutlu baskı işleminde hem de otomobilin performans ve güvenlik gereksinimleriyle uyumlu alaşımlarda sorunlarla karşılaştığı ancak şirketin ilerleme kaydettiği belirtiliyor. Tesla, SpaceX ile güçlü bir malzeme bilimi ekibini paylaşıyor ve bu ekip, her iki şirket tarafından da kullanılan birçok yeni alaşım tasarladı.

Son olarak rapor, Tesla'nın bu büyük yekpare gövdeleri inşa etmek için gerekli olacak yeni, daha büyük bir Gigapress planlarını henüz tamamlamadığını da belirtiyor. Öte yandan Tesla'nın 2019 yılında bu teknolojiyle ilgili ilginç bir patent başvurusunda bile bulunduğunu belirtmek ilginç. Tüm bunlara rağmen kısa vadede devrimler gerçekleştirilemeyeceği için Tesla'nın hâlâ zamana ihtiyacı var gibi görünüyor. Ancak görünürlük açısından işler iyi gidiyor. CEO Elon Musk, örnek olarak sıklıkla Hot Wheels'ın küçük arabalarını kullanıyor ve Tesla arabalarının eninde sonunda bu şekilde üretilmesini istediğini söylüyor.

4 / 4