Yeni Birlik Gazetesi
Yeni Birlik Gazetesi Galeriler Teknoloji Apple Dünyada bir ilke imza attı: Yuvarlanabilir iPhone Patenti aldı!

Apple Dünyada bir ilke imza attı: Yuvarlanabilir iPhone Patenti aldı!

Teknoloji endüstrisindeki yenilikleriyle tanınan Apple, henüz rakipleri Samsung, Oppo ve Motorola gibi katlanabilir bir akıllı telefon çıkartmadı. Ancak teknoloji devinin yakın tarihlerde bir patent aldığı ortaya çıktı.

Apple Dünyada bir ilke imza attı: Yuvarlanabilir iPhone Patenti aldı! 1

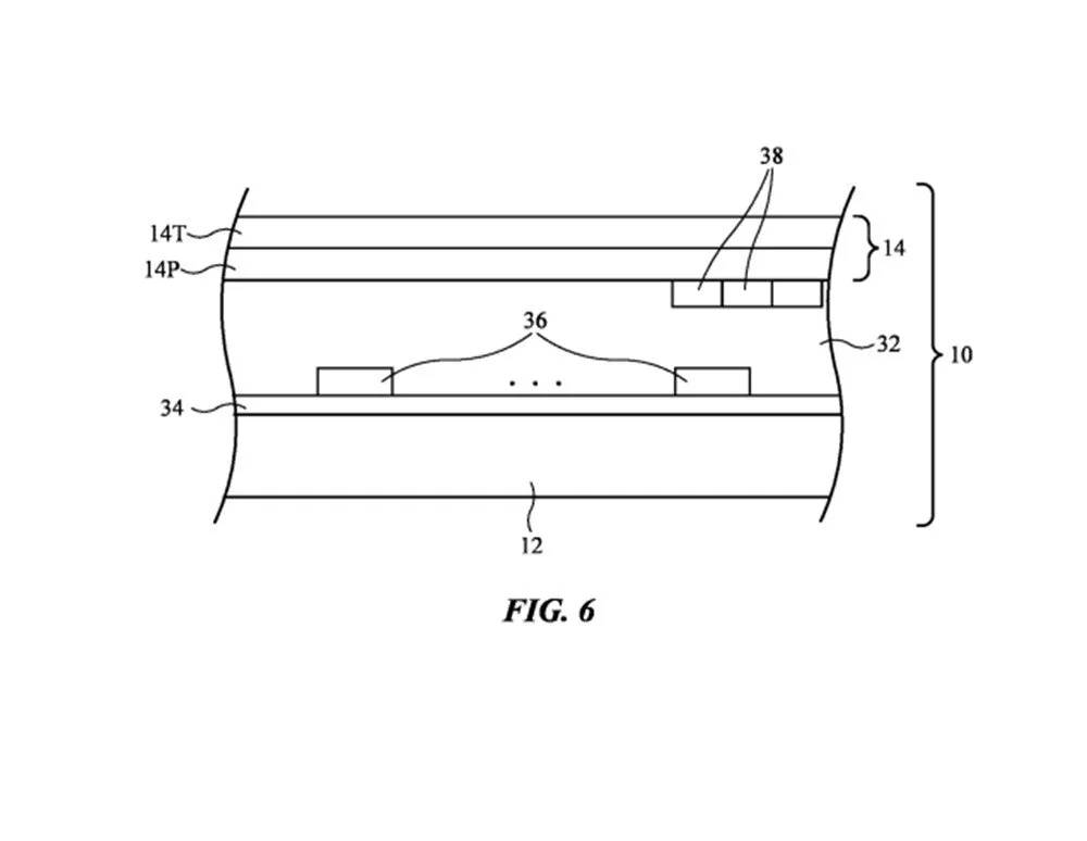
Amerikan şirketi Apple'ın patent belgeleri, yuvarlanan bir eksen etrafında kıvrılan ince, esnek bir ekrana sahip bir iPhone'un tasarımını detaylandırıyor. Apple'ın tasarımı, ekran üzerindeki koruyucu cam katmanın yanı sıra ekranı çizilmelere ve diğer hasarlara karşı koruyan bulaşma önleyici, buğu önleyici, yansıma önleyici ve anti statik katmanlar gibi yapılar içerir.

1 / 8
Apple Dünyada bir ilke imza attı: Yuvarlanabilir iPhone Patenti aldı! 2

Rollable (Yuvarlanabilen) iPhone ne zaman çıkacak?

Apple, iPhone 15'i Eylül ayında piyasaya sürmeyi planlıyor, ancak bu, şirketin geri çekilebilir bir akıllı telefon başlatmaya karar verdiği en erken 2024 yılına kadar olmayacak.

2 / 8
Apple Dünyada bir ilke imza attı: Yuvarlanabilir iPhone Patenti aldı! 3

Öte yandan Apple'ın geçmişte gerçek dünyada kullanılamayan çok sayıda patent başvurusu yaptığı biliniyor.

3 / 8
Apple Dünyada bir ilke imza attı: Yuvarlanabilir iPhone Patenti aldı! 4

Yuvarlanan iPhone tasarımının detayları

Bununla birlikte, patent başvurusundaki çizimler, kaydırılabilir ekranın dijital görüntünün şeklini ve rengini tanımlayan bir piksel dizisine sahip olduğunu açıklamaktadır.

4 / 8
Apple Dünyada bir ilke imza attı: Yuvarlanabilir iPhone Patenti aldı! 5

iPhone döndükçe, ekran kendi ekseni etrafında silindirik olarak bükülür. Apple, döndürme ve yerleştirme işlemi sırasında onu korumak için aygıtın içini katmanlamanızı önerir.

5 / 8
Apple Dünyada bir ilke imza attı: Yuvarlanabilir iPhone Patenti aldı! 6

Patente göre, cep telefonunun iç kaplaması, uçak parçaları, spor malzemeleri ve yapıştırıcılar dahil olmak üzere çeşitli alanlarda kullanılan çok yönlü bir plastik malzeme olan poliimidden yapılmıştır.

6 / 8
Apple Dünyada bir ilke imza attı: Yuvarlanabilir iPhone Patenti aldı! 7

En ince dış katman, plastik torbalarda, giysilerde ve yapışmaz pişirme kaplarında yaygın olarak bulunan bir polimerden yapılmıştır. Belge ayrıca, bu katmanlı yapıların, derin çiziklerin cam bölmelerin dış yüzeyine nüfuz etmesini önlemeye yardımcı olduğunu belirtir. Daha sert bir polimer katman, yüzeyi çizilmelere karşı korur ve ekrandaki görünür değişiklikleri ve bulanıklığı en aza indirir.

7 / 8
Apple Dünyada bir ilke imza attı: Yuvarlanabilir iPhone Patenti aldı! 8

Öte yandan patentler, bir ürünün gerçekten pazara sunulacağını garanti etmez, ancak bir şirketin araştırma ve geliştirme çabaları hakkında değerli bilgiler sağlar. Apple'ın katlanabilir akıllı telefon teknolojisinin keşfi, şirketin sınırları zorlama ve potansiyel olarak mobil cihazların geleceğini şekillendirme konusundaki kararlılığını gösteriyor.

8 / 8